经常有网友看到搬瓦工中文网对于Linux服务器进行评测的一些工具比较感兴趣,比如我们有看到或者在寻找Linux服务器有希望测试路由线路的。因为即便商家吹嘘的多么好,评测网站也有介绍的如何如何,但是实际上可能并不是这样子的。因为有很多主机商在开始发布产品的时候确实是线路优秀的,但是后面随着商家的发展,和线路也会调整的。所以,我们在购买服务器之后需要自己测试当前的线路是不是正如商家或者评测网站说的那样。
比如,我们在购买到搬瓦工VPS主机之后,《 搬瓦工VPS推荐方案》,肯定也会针对当前购买的服务器进行测试。在测试工具中,肯定会有用到路由追踪这款工具,这个工具的用途就是可以看看,当前服务器的测试节点在我们本地线路中的走势,或者是我们可以看看网络公开的节点测试线路,这样我们可以大概了解这台服务器的线路情况。
比如,我们看到常用的DC6、DC9 CN2 GIA线路,我们好歹去看看是不是这样子的。因为,我们经常看到一些商家吹嘘是走的CN2 GIA线路,但是实际上并不是这样子的,因为线路的走势商家是无法作假的,我们从网上测试就可以看到。
Tip: 在这篇文章中,我们看看两款常用的路由追踪测试工具。
BestTrace工具下载地址:https://www.ipip.net/product/client.html
这款工具我们还是比较常用的,比如我们可以下载到本地电脑中,然后输入服务器的IP地址,可以检测到我们当前网络到服务器的线路情况。我们可能有见过WINMTR这款工具,但是这款工具完全是IP过程,而BestTrace工具是可以看到图示走向的,当然有些时候由于IP地址没有进入IP库真实地址,所以走向有些偏差,不过大部分时候是正确的。

我们可以从上图看到,笔者用DC6 CN2 GIA测试IP地址进行的路由追踪,可以看到我这边是电信用户,走的确实是CN2优化线路。同理,我们也可以将软件放到其他测试节点服务器中,然后点对点测试节点到服务器的线路走势情况。一般,我们会测试目标用户地域与服务器地区的线路走向,或者我们也可以让这些地区的用户下载软件然后测试。
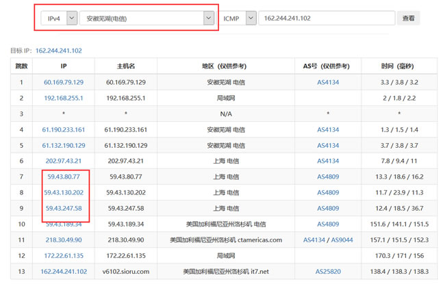
在线节点测试路由:https://tools.ipip.net/traceroute.php

同样的,我们可以在这个工具中选择百多个节点,然后测试当前服务器IP地址到这个节点的测试速度。比如我测试的是安徽节点,然后到DC6 CN2 GIA的线路,看到是走上海的CN2节点出去的。这样可以判断到当前DC6确实是走的CN2线路。从59.43.**就知道是CN2线路,所以商家没有骗我们。
工具地址:http://www.webkaka.com/Tracert.aspx

这个是来自WEBKAKA的工具,也是提供在线路由测试。因为我们在测试的时候也不能过分依赖一个工具,我们可以多个工具和节点一起测试。如果我们准备购买搬瓦工VPS的时候可以先进行测试商家提供的节点。《 搬瓦工VPS主机数据中心对比》,一般我们还是建议用DC6或者是DC8,有条件的可以选择高富帅的香港PCCW线路。
Tip: 如果我们还需要了解其他搬瓦工VPS教程,可以参考新手教程目录分类。