今天有网友在群里私聊问到是否有欧洲数据中心,这个网友应该是希望用欧洲机房的VPS主机进行亚马逊项目操作的,所以需要用到欧洲的IP地址。对于这个朋友利用Linux服务器搭建VNC或者是GNOME客户端他都能够了解和技术上没有问题,看来这人还是有点技术的,所以不用操心这些问题。在我们搬瓦工VPS中文网之前也有发过过一些文章关于如何在Linux VPS中搭建远程客户端的文章,因为有些网友外贸需求需要用到,但是搬瓦工VPS主机不支持安装WIN系统,所以我们只能模拟搭建LiNUX桌面。
在这里我们不去讨论这些问题,搬瓦工VPS主机商有一个欧洲数据中心,荷兰阿姆斯特丹机房,好像我们看到多机房的主机商都有荷兰机房的,难道荷兰机房的便宜?还是真有人用?反正我是没用过。其实我们在购买搬瓦工VPS主机任何方案,当然除了香港机房,都可以切换到荷兰数据中心。可以参考:《 搬瓦工5种套餐方案可切换全部机房整理大全 知道可换机房》。今天我们就拿搬瓦工荷兰数据中心进行简单的评测。
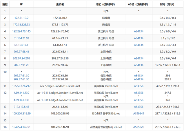
Tip 这里我的测试时间是晚上,这样看看实际的速度如何,因为晚上比白天稍微慢一些。

搬瓦工VPS主机商除了香港机房之外,其他任何套餐都是可以切换到荷兰机房的。目前商家机器也不便宜,最低需要年付49.99美元,对于这网友是用来做亚马逊的,应该是没有多大问题,他的项目并不违规,而且根据他的诉求是需要多IP变化的。他可以在切换到荷兰机房之后,再随机切换到其他机房,然后再切换到荷兰机房,这样荷兰的IP地址和原来的地址就不同。

我们可以看到晚上荷兰数据中心PING速度,速度上肯定是不够理想的,毕竟人家是欧洲数据中心。如果我们做中文网站确实没有必要,我估计你美国机房都嫌慢,更不要说欧洲机房,毕竟欧洲机房是指定有需要的用户的。其实我们可以参考搬瓦工VPS主机数据中心对比,看到各个机房的速度。

搬瓦工VPS主机全部采用的是SSD固态硬盘,即便是早年低价的时候,他家的IO数据也是非常好的,不得不佩服人家的技术。如今价格也涨价了,所以也不会太克扣配置,超售肯定是在控制范围之内。

根据脚本,我们可以看到几个国内节点的下载速度,不过这些都不重要。我们肯定不会用到国内项目上的,只是测试的数据,如果我们需要使用我看网友使用的虚拟机然后桥接过去使用的,具体我没看明白是干嘛的。

这里测试下电信节点的路由线路,还算稳定不是太绕。只能算是普通线路,如果我们需要提速的话需要想办法,建议安装系统的时候用BBR内核。

毕竟是欧洲机房,在欧洲用户访问速度确实很快的。之前有一个网友用来做欧洲外贸网站的,其实选择荷兰机房还是可以的。但是搬瓦工VPS主机商高配成本太高,个人不建议选择他们高配建站,可以用VULTR或者LINODE来建站,成本低。
总结,以上是我们针对搬瓦工vps主机商荷兰阿姆斯特丹数据中心的评测,反正这个机房不适合中文用途,速度比较慢,但是你确实需要用到欧洲机房,那是没问题的。同时我们可以参考 《 搬瓦工VPS推荐方案》 选择其他方案。
Tip: 如果我们还需要了解其他搬瓦工VPS教程,可以参考新手教程目录分类。