到目前为止,BandwagonHost商家有提供包括洛杉矶QNET、MC,凤凰城、弗里蒙特、纽约等8个数据中心,如果需要速度较好的建议选择洛杉矶MC或者QN机房,大部分电信用户速度都是不错的(因为我是电信用户),如果是为了多机房线路需要项目,可以根据需要切换或者选择其他机房。
不过,根据网友的反馈,不同的地区、线路速度是不同的,我们在选择的时候也不能人云亦云,我们可以根据实际自己的本地测速之后再去选择。在这篇文章中,搬瓦工VPS中文网根据官方提供的8个数据中心机房,然后给予测速看看到底哪个速度好。
Tip: KVM架构与OPENVZ还是不同的,KVM可以选择BBR加速内核
IP地址:23.252.96.201
下载文件:http://23.252.96.201/1000mb.bin

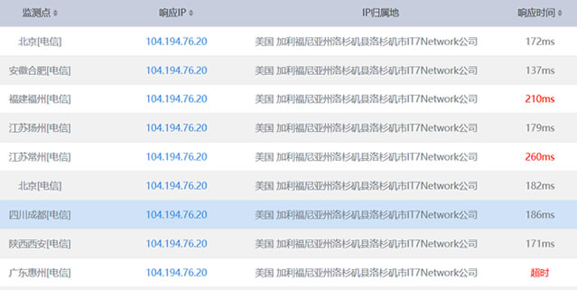
IP地址:104.194.76.20
下载文件:http://104.194.76.20/1000mb.bin

IP地址:98.142.136.11
下载文件:http://98.142.136.11/1000mb.bin

IP地址:198.35.46.28
下载文件:http://198.35.46.28/1000mb.bin

IP地址:184.105.138.67
下载文件:http://184.105.138.67/1000mb.bin

IP地址:208.167.227.122
下载文件:http://208.167.227.122/1000mb.bin

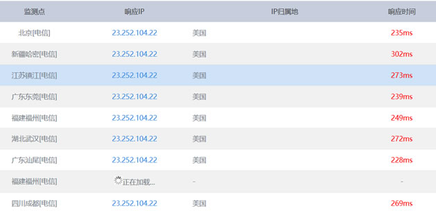
IP地址:23.252.104.22
下载文件:http://23.252.104.22/1000mb.bin

IP地址:45.62.120.202
下载文件:http://45.62.120.202/1000mb.bin

IP地址:172.93.32.16
下载文件:http://172.93.32.16/1000mb.bin

以上是整理的官方提供的8个机房测试IP地址,从速度上看,如果我们用来建站或者是用来国内速度需求的,洛杉矶、凤凰城、佛利蒙速度还可以的。
Tip: 如果我们还需要其他搬瓦工方面的技术内容,可以参考后面内容!新手教程目录分类。